Nel panorama delle automobili di lusso, il comfort è da sempre uno dei principali terreni di competizione.In questo ambito, Mercedes (guarda la homepage di Mercedes-Benz) si è distinta con una visione di lungo periodo, quasi pionieristica.
Mercedes e l’evoluzione continua del comfort
Già tra la fine degli anni Novanta e l’inizio dei Duemila, la Casa di Stoccarda è stata tra le prime a introdurre i sedili con funzione di massaggio nei suoi modelli top di gamma, trasformando i viaggi quotidiani in un’esperienza più rilassante (guarda la nuova Mercedes-Benz Classe S).

Il massaggio è una dotazione sempre più diffusa
Oggi molti modelli portano a bordo sistemi capaci di eseguire diverse tipologie di massaggio alla schiena o di compensare i movimenti della parte inferiore del corpo. Queste soluzioni sono pensate per ridurre l’affaticamento durante i lunghi tragitti, ma finora nessun costruttore ha esteso questa tecnologia ai poggiatesta.

Il brevetto che guarda oltre il sedile
Ma ormai tutti i sistemi per migliorare il comfort sembravano esplorati dai costruttori e trovare qualcosa di nuovo non era facile. Tuttavia, sembra che proprio Mercedes stia lavorando su un progetto innovativo e ne è la prova un recente deposito di brevetto, individuato dai giornalisti americani del sito automotive CarBuzz (leggi l’articolo di CarBuzz), suggerisce che la casa tedesca stia valutando un salto evolutivo.
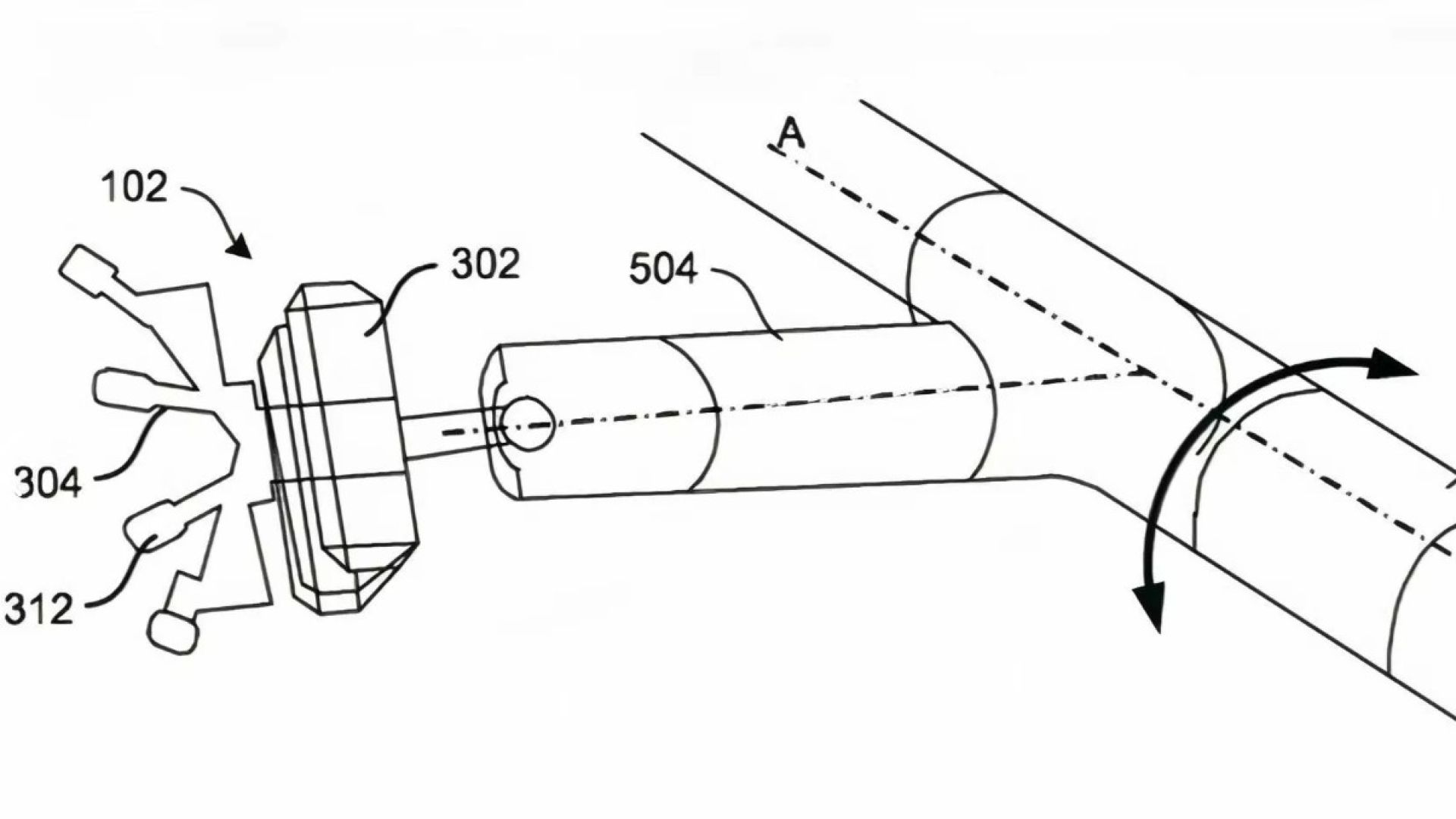
Il documento descrive un sistema di massaggio integrato direttamente nel poggiatesta, dotato di un mozzo centrale e di più bracci meccanici in grado di effettuare micro-movimenti, vibrazioni e rotazioni controllate.

Massaggi personalizzati e delicati
Il sistema includerebbe sensori capaci di rilevare altezza e posizione della testa dell’occupante, adattando automaticamente il massaggio alla conformazione individuale. Considerate le dimensioni ridotte del poggiatesta, non si tratterebbe di interventi energici, ma di stimoli leggeri pensati per rilassare la zona cervicale senza risultare invasivi.
Inoltre, il brevetto descrive come il sistema possa essere attivato in diversi modi. Ad esempio, tramite un pulsante sullo schermo del sistema di infotainment. In alternativa, è possibile avviarlo da uno smartphone. Da lì, il sistema consentirebbe di regolare il massaggio in base alle esigenze del passeggero.

Tra innovazione e realtà produttiva
Come spesso accade con i brevetti, è bene mantenere aspettative più aderenti alla realtà. Molte soluzioni trovano sbocco nella produzione, ma altre restano sulla carta e non arrivano alla creazione in serie.
Tuttavia, il fatto che Mercedes continui a investire nello sviluppo di nuove soluzioni per i suoi sedili massaggianti conferma l’attenzione costante verso un comfort sempre più sofisticato. Un’idea che, se realizzata, potrebbe elevare ancora una volta il benessere a bordo. Voi cosa ne pensate? Vi farebbe piacere un bel massaggio cervicale nel traffico o durante un lungo viaggio? Fatecelo sapere.







