Rolls-Royce sta lavorando a un secondo modello elettrico che si riconoscerà per alcune scelte stilistiche particolari. Per il momento identificato come la nuova Cullinan elettrica, si caratterizzerà per disporre di un cofano con apertura a ''due pezzi''. In pratica, come si intravede grazie alle ultime foto spia, disporrà di una sorta di ''spina dorsale centrale'' con un ornamento a forma di Spirit of Ecstasy retrattile nella parte anteriore. Ai lati ci sono due pannelli mobili che si sollevano come il cofano di un bagagliaio.

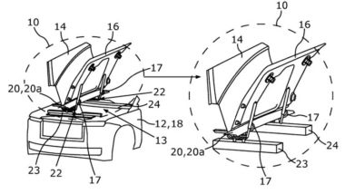
Una soluzione tecnica davvero molto particolare che, però, era stata anticipata in passato da un brevetto che mostra chiaramente il suo funzionamento. A quanto pare la casa automobilistica sembra voler tradurre in realtà questa idea all'interno della nuova Cullinan elettrica. Possiamo vederla come un modo alternativo e più elegante di proporre un frunk, uno spazio che potrà essere riempito con qualsiasi cosa il cliente decida di riporre: valigie su misura, bicchieri e bevande, valigie o altro.
Mettendo da parte il particolarissimo bagagliaio anteriore, le nuove immagini permettono di notare, davanti, la presenza di una griglia completamente chiusa, tipica dei modelli elettrici. Presenti anche gruppi ottici sdoppiati, inclusi i fari inferiori con il logo ''RR''. Il modello sfoggia inoltre un'ampia presa d'aria inferiore con barre orizzontali. Il resto del design è molto più convenzionale e riprende quello dell'attuale Cullinan.
Nuove tecnologie BMW
Si dice che la nuova elettrica sia costruita sulla piattaforma Architecture of Luxury, la stessa utilizzata per la Spectre. Tuttavia, pare che potrà contare sulle ultime tecnologie sviluppate da BMW per le auto elettriche che dovrebbero permettere alla nuova Rolls-Royce di poter disporre di oltre 600 km di autonomia. Ne sapremo di più nel corso dei prossimi mesi. Lo sviluppo sembra infatti arrivato a buon punto e ci si attende la presentazione entro la fine dell'anno.









