Aprilia “leg wings” - Le innovazioni aerodinamiche introdotte negli ultimi anni sulle MotoGP hanno già dato vita a una generazione di sportive stradali dotate di appendici anteriori. Ora, un nuovo brevetto di Aprilia suggerisce che anche le “leg wings” verticali viste sulle ultime moto da Gran Premio potrebbero arrivare sulla moto di serie.
I disegni mostrano grandi pannelli aerodinamici posizionati appena dietro i piedi e la parte inferiore delle gambe del pilota. A differenza di quanto avviene sulle moto da corsa, dove sono integrate nella carenatura posteriore, queste appendici sono progettate per essere facilmente imbullonate agli attacchi delle pedane passeggero, potendo quindi essere installate quasi su ogni ogni moto stradale. Nei documenti pubblicati dalla testata australiana AMCN compaiono montate su una RSV4, ma potrebbero adattarsi altrettanto bene alla RS660 - o persino a modelli di altri marchi.

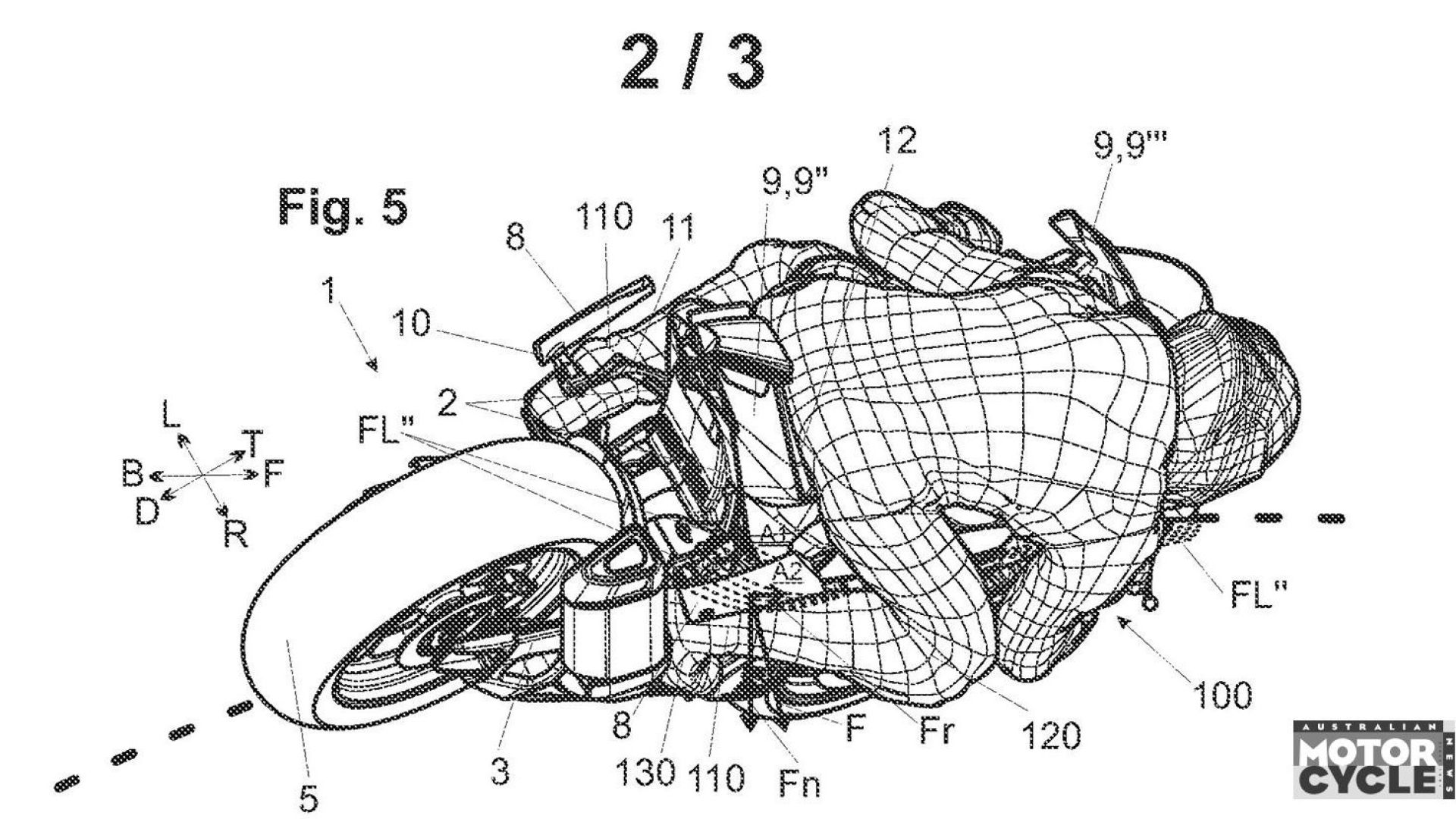
Non si tratta affatto di elementi estetici: il brevetto spiega come svolgano due importanti funzioni aerodinamiche, migliorando sia la velocità massima sia la capacità di curvare.
Quando si viaggia in rettilineo, l'esterno degli stivali del pilota si allinea con il bordo d’attacco dei pannelli, creando una superficie relativamente pulita per il flusso d’aria che scorre lungo le carene laterali e le gambe. Viste dall’alto, le due alette si restringono verso la coda della moto, contribuendo a creare un profilo a goccia che riduce la resistenza diminuendo le turbolenze dietro le gambe del pilota. A vantaggio quindi della velocità massima.

Le ''leg wings'' migliorano anche la percorrenza in curva, generando carico aerodinamico posteriore a elevati angoli di piega. Quando il pilota si sporge all’interno della curva, con il ginocchio vicino o a contatto con l’asfalto, la gamba interna crea una sorta di tunnel che convoglia l’aria tra il polpaccio e la moto, colpendo in pieno la “leg wing” dal lato interno della curva. In questo modo il flusso attraversa entrambe le superfici dell’aletta, sagomata per generare deportanza, spingendo la moto verso il suolo e aiutandola a chiudere la traiettoria. L’aletta sul lato opposto rimane invece schermata dall’altra gamba e non produce una forza contraria: di fatto il pilota diventa un componente aerodinamico attivo.

L’intenzione di Aprilia di utilizzare questo sistema su moto stradali, e non solo da gara, è esplicita nel brevetto:
«Preferibilmente il supporto può essere collegato alla staffa della pedana passeggero. In questo modo è possibile montare la coppia di ali come accessorio su qualsiasi moto stradale dotata di pedane passeggero. In pratica, quando non è necessario trasportare un passeggero – ad esempio durante l’uso in pista – le pedane possono essere rimosse per alloggiare nelle relative staffe le ali secondo la presente invenzione».




