Yamaha ha depositato una serie di nuove domande di brevetto in Giappone che mostrano come stia esplorando il potenziale della variazione della direzione di uscita dei gas di scarico a vantaggio della dinamica di guida. Lo riporta la testata americana Cycle World.
Attraverso l'utilizzo di valvole all’interno degli impianti di scarico, i gas vengono indirizzati verso diverse uscite a seconda della situazione di guida. Si può così migliorare l'accelerazione, ridurre l'impennamento, favorire la capacità di curvare.
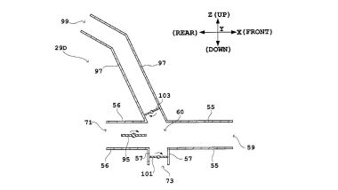
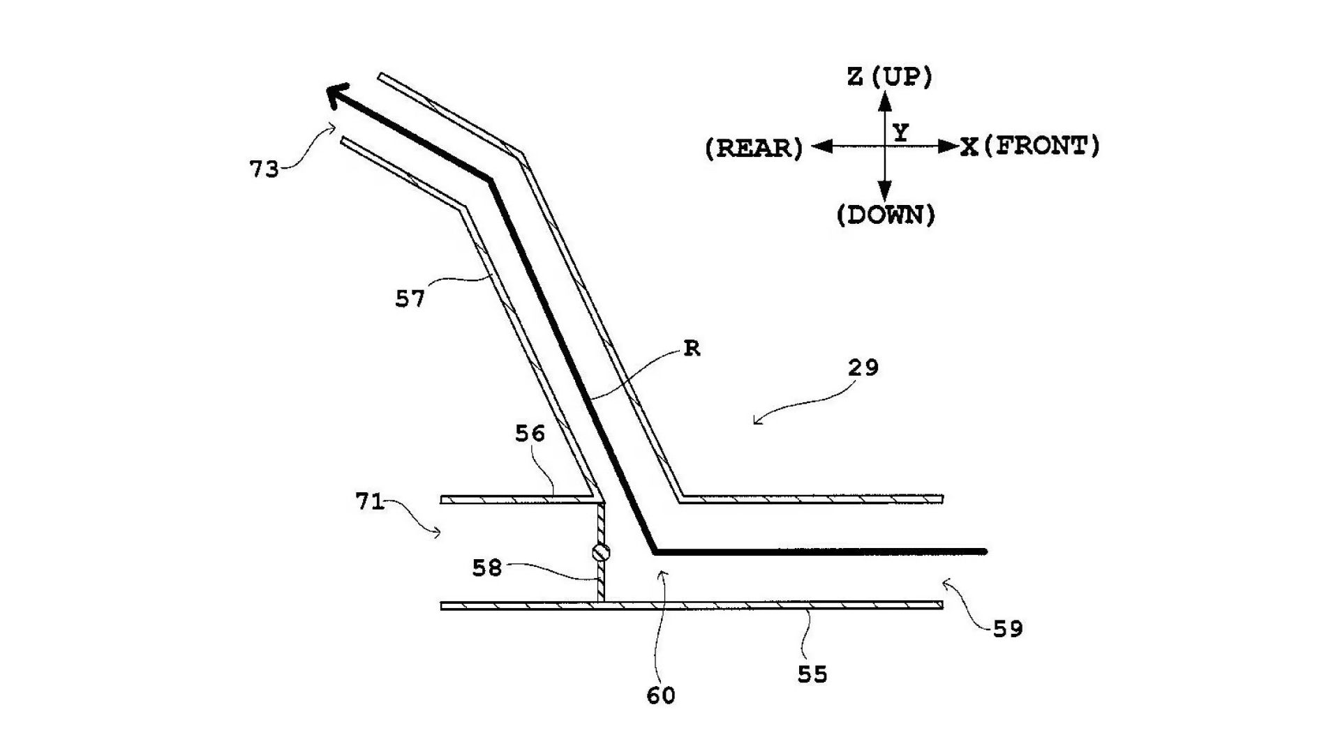
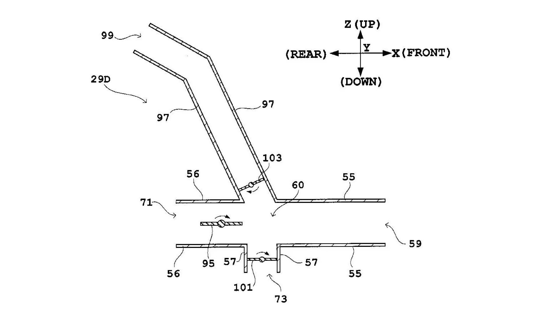
I brevetti illustrano il sistema su una MT-07, ma è chiaro che l'idea troverebbe applicazione su moto sportive ad altissime prestazioni, in particolare nell’utilizzo in pista. Ci sono due brevetti distinti: uno mostra come lo scarico possa essere utilizzato per ridurre l'impennamento e migliorare l’accelerazione, l’altro usa lo stesso principio per migliorare la capacità di curvare.
Entrambi utilizzano semplici valvole a farfalla all’interno dello scarico per dirigere il flusso. Nella versione anti-impennata, il terminale si divide in due: un tubo più grande e basso pensato per minimizzare le restrizioni al flusso e massimizzare la potenza del motore, e un tubo più piccolo montato più in alto e inclinato verso l’alto. Il diametro ridotto aumenta la spinta del gas in uscita dal tubo superiore, e la sua posizione e angolazione sono pensate per aiutare la moto a ruotare attorno alla ruota posteriore, spingendo l’avantreno verso il basso.

Molte MotoGP e SBK utilizzano già scarichi montati in alto; nel caso delle SBK, alcuni modelli (come le più recenti Ducati Panigale V4) li adottano anche quando la versione stradale ha uno scarico basso. Esiste quindi davvero un effetto anti-impennata prodotto dagli scarichi alti sotto la sella? L’idea di Yamaha di un sistema regolabile, dotato di valvole che reindirizzano il flusso di scarico secondo necessità, aggiunge un’altra dimensione sacrificando parte della potenza massima con un tubo di piccolo diametro che aumenta però la spinta. Quando l’accelerazione è limitata da trazione e impennamenti, è un sacrificio sensato, poiché non si può comunque sfruttare tutta la potenza del motore. Una volta aumentata la velocità e con più potenza trasferibile a terra, la valvola commuta verso lo scarico posteriore più libero.

La versione del sistema dedicata alla guida in curva è simile, ma invece di dirigere i gas verso un’uscita alta per ridurre le impennate, li convoglia in un tubo stretto orientato verso il basso. Quando la moto è completamente inclinata — e nuovamente impossibilitata a sfruttare tutta la potenza del motore — lo scarico può essere deviato verso il tubo rivolto verso il basso che, grazie all’angolo di piega, orienterà il getto verso l’esterno, spingendo la moto verso il centro della curva. Una seconda versione più complessa aggiunge due uscite angolate per dirigere i gas a sinistra o a destra, fornendo maggiore spinta in curva anche quando l’angolo di piega non è estremo.

Sebbene ci siano due brevetti separati per le versioni anti-impennata e per l’assistenza in curva, l’obiettivo finale è combinare i benefici di entrambi in un unico sistema multi-uscita, con più valvole per reindirizzare il flusso. I brevetti includono immagini dello scarico con entrambi i tubi — quello anti-impennata e quello di assistenza alla curva — integrati in un unico progetto, insieme a un’uscita posteriore a diametro maggiore per massimizzare la potenza in rettilineo.

I vantaggi potrebbero essere minimi, ma nelle competizioni ogni dettaglio conta. Le valvole sono già usate nei sistemi di scarico delle moto da gara per modulare la quantità di freno motore, e poiché sono interne e influiscono sul flusso dei gas di scarico e non sull’aerodinamica esterna, difficilmente violerebbero le norme che vietano componenti aerodinamiche mobili. Con regolamenti futuri in MotoGP e WSBK destinati a limitare sempre di più gli effetti delle alette aerodinamiche, l’uso di flussi di scarico orientabili potrebbe diventare una strada valida per recuperare parte delle prestazioni perdute.



