IL VOLANTE È SEMPRE STATO TONDO MA...
Da quando l'automobile è venuta al mondo, il volante è sempre stato tondo. Bene, nelle intenzioni di BMW le cose potrebbero cambiare nel prossimo futuro, quando le auto saranno in grado di viaggiare in modalità autonoma. Al punto che la Casa di Monaco avrebbe già brevettato un volante innovativo...
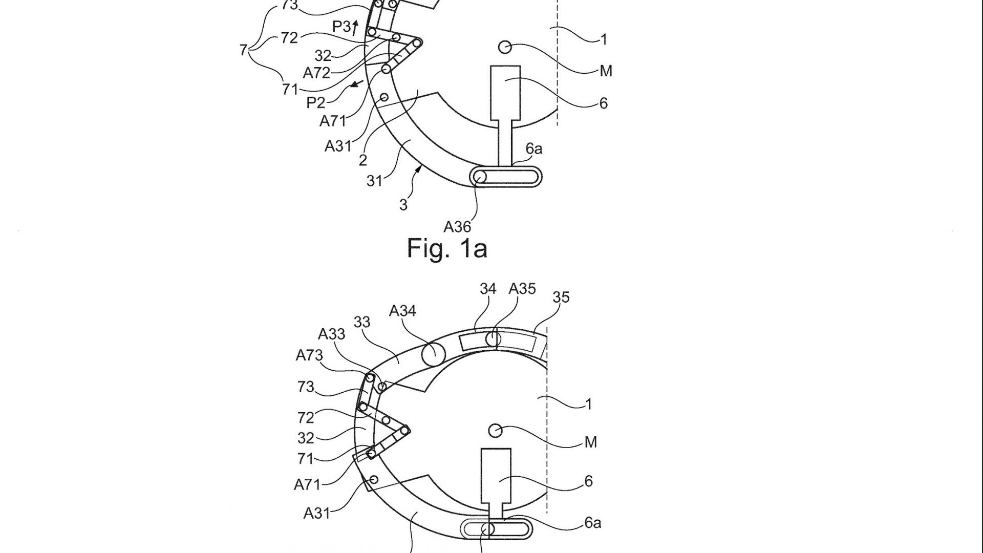
BMW E IL VOLANTE... TRANSFORMER
Il volante di BMW permetterebbe al guidatore di modificarne la forma, da tonda ad ovale, tipo pallone da rugby, nel momento in cui l'auto dovesse passare alla modalità di guida autonoma. Questo permetterebbe al pilota di mettersi più comodo mentre l'auto fa da sé. Ma quando dovesse arrivare il momento di riprendere il controllo, il volante tornerebbe rapidamente alla sua forma normale. Il volante che si ripiega e scompare completamente, d'altra parte, non potrebbe garantire la sicurezza, in caso di emergenza, affinché il guidatore possa repentinamente riprendere il controllo dell'auto.

LA GUIDA AUTONOMA: PROBLEMI E PROGRESSI
Abbiamo visto recentemente il video della Tesla che si ferma al semaforo rosso, ma abbiamo anche esempi dove la guida autonoma non ha funzionato (qui una Tesla fuori controllo fuori da un centro commerciale). È meglio andarci cauti quindi e la proposta di BMW sembrerebbe fare il pari con il progresso senza perdere di vista l'importanza, almeno per il momento, dell'uomo.
L’ultimo arrivato nella redazione è toscano, di Firenze. Sin dai primi anni di vita affascinato dalle quattro ruote, col passare degli anni si è poi avvicinato alle due, dalle quali è rimasto folgorato. Dall’infanzia sogna di diventare pilota (prima di F1 poi di MotoGP) ma il sogno rimane nel cassetto, anche perché in famiglia pare sia l’unico con la benzina nelle vene. Finito il liceo tutto appare chiaro: “Voglio diventare un tester”. All’università studia Media e Giornalismo e si laurea con una tesi sulla rivista Motociclismo, iniziando poco dopo a collaborare col giornale. Negli anni ha frequentato quanti più corsi di guida per imparare a guidare le moto, finché nel 2019 è diventato lui stesso Istruttore di Tecniche di Guida Motociclistica della F.M.I. Ah, dimenticavamo: pare stia cercando moglie…



